Guide - Isuzu (8944266972)

Guide - Isuzu (8944266972)

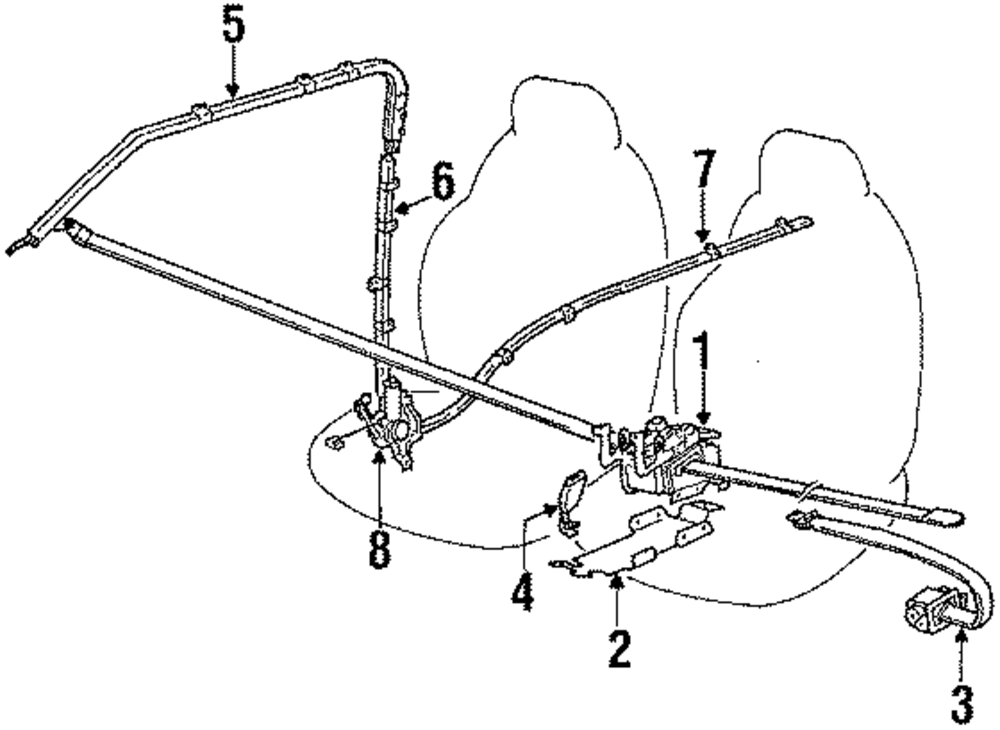
Part can be found as reference #6 in illustration

Guide - Isuzu (8944266972)

Genuine Isuzu Parts
Isuzu Parts
  • Isuzu
  • 8944266972
  • 8944266971

Details

  • Brand:

     Parts

  • SKU:

    8944266972

  • Positions: Right Front, Right Upper
  • Description:

    1988-89 with passive restraints, front seat, upper.

  • Replaces:

    8944266971

  • Sale Price: $38.65
OR
Manufacturer Warranty Minimum of 12 Months
Guaranteed Fitment Always the correct parts
Shop with Confidence Your information is safe
In-House Experts We know our products
Genuine Isuzu Parts
Isuzu Parts
  • Isuzu
  • 8944266972
  • 8944266971

Details

  • Brand:

     Parts

  • SKU:

    8944266972

  • Positions: Right Front, Right Upper
  • Description:

    1988-89 with passive restraints, front seat, upper.

  • Replaces:

    8944266971

Vehicle Fitment

Vehicle Fitment
Year Make Model Body & Trim Engine & Transmission
( more fitments)
No fitment data available